Дмитро Адаменко
Перша світова війна дала потужний поштовх розвитку ручних гранат. Простота виготовлення та ефективність цієї зброї в траншейній війні зумовили бурхливе зростання її виробництва. Водночас, обмежена дальність метання гранат поставила питання про пристрої, здатні вирішити цю проблему. В першу чергу дальність метання намагалися збільшити шляхом переробки ручних гранат на гвинтівочні; крім інших воюючих країн, цим зайнялися й в Австро-Угорщині.
У XVII–XVIII століттях європейські армії застосовували в бою гренадерів. Перед цими частинами стояло завдання закидати ворожі фортифікації відлитими з чавуну або видутими зі скла ручними гренадами, начиненими вибуховою речовиною. Після «бомбардування» ворожих укріплень зазвичай починався штурм. Вдало кинута гренада могла завдати чималих збитків і щільному піхотному строю. Однак невелика дальність метання гренади, складність із підпалюванням ґнота або запальної порохової трубки та постійне підвищення влучності стрільби з фузеї змусили військових поступово відмовитися від такої тактики.
До початку ХХ століття склалися всі технічні передумови для відродження ручних гранат: були винайдені сильніші вибухові речовини та тертковий запал, далеко вперед пішла металообробка. Вже Російсько-японська війна 1904–1905 років показала, що для штурму ворожих окопів піхоті необхідна ручна граната. Втім, майже всі країни-майбутні учасниці Першої світової не зробили висновків з далекосхідного конфлікту, плануючи швидку маневрену війну. Позиційний характер цього конфлікту змусив європейських військових та інженерів шукати нові види озброєнь, одним з яких стала ручна граната.

Навчання метанню ручних гранат на курсах штурмовиків австро-угорської армії, 1917 рік. Добре видно незначну дальність ручного кидка (bildarchivaustria.at)
Ручна граната була ефективною як у наступальному, так і в оборонному боях. У першому випадку вона могла зламати опір ворога, закиданого гранатами у власних окопах, у другому — зупинити його наступальний порив, змусити залягти на відкритій місцевості та зрештою відступити. Однак поза межами безпосереднього бойового зіткнення граната ставала марною: боєць міг кинути її на відстань близько 30 м, а середня дистанція між передовими лініями супротивників сягала 300 м. У питанні збільшення дальності кидка ручної піхотної гранати військова думка пішла двома шляхами: переробкою ручних гранат на гвинтівочні та конструюванням спеціальних механічних пристосувань.

Різні типи ручних і гвинтівочних гранат, що були на озброєнні австро-угорської армії. Курси австро-угорських штурмовиків, 1917 рік. Зліва направо: німецька гвинтівочна граната «Gewehrgranate» зразка 1916 року і гвинтівочна граната «Zeitzundergewehrhandgranate» (лежать), «Kugelrohrhandgranate» 2-го типу, «Lakos» 1-го типу, «Zeitzünderhandgranate», «Rohrhandgranate», «Kugelrohrhandgranate» 4-го типу, німецька «Kugelhandgranate» зразка 1915 року, «Eierhandgranate» зразка 1917 року, німецька «Stielhandgranate» (bildarchivaustria.at)
На озброєнні австро-угорської піхоти в роки Першої світової були кілька типів ручних гранат, кожен з яких, як правило, мав власні модифікації. При цьому далеко не всі типи гранат могли бути перероблені на гвинтівочні.

Пристосування для відстрілу гвинтівочних гранат в австро-угорському окопі, 1917 рік. Солдат стріляє гранатою «Zeitzündergewehrhandgranate» (bildarchivaustria.at)
Принцип метання гвинтівочної гранати досить простий: у дно її корпусу вгвинчували сталевий стрижень (шомпол), трохи менший за діаметр каналу ствола. Стрижень вставляли в ствол з дульного боку. Метання гранати здійснювалося завдяки пострілу холостим набоєм. Сила віддачі була така, що перед пострілом гвинтівку вимагали вперти прикладом у землю, щоб не пошкодити плече стрільця. Дальність польоту залежала від ваги гранати та в середньому становила 110–135 м, не так уже й багато при вдвічі більшій дистанції між окопами, але досить ефективно, щоб тримати ворога (наприклад, розвідників або інженерів, що ремонтують дротяні загородження) на шанобливій відстані від власної передової лінії. Швидкість метання шомпольних гранат була високою: до 12 штук за хвилину.
Universalgranate M.1914
Першим типом гвинтівочної гранати, прийнятої на озброєння австро-угорської армії, стала «універсальна граната» (Universalgranate) зразка 1914 року, що зовні нагадувала піротехнічну ракету. Її корпус приблизно на 1/3 складався з головної частини, виконаної з тонкостінного металу, в якій був розташований підривник, і на 2/3 — з бойової частини з товстостінного корпусу з вибуховим зарядом. У донце бойової частини можна було угвинтити шомпол і перетворити гранату на гвинтівочну. Головну частину гранати надівали на бойову методом гарячої посадки.
- Конструкція «універсальної гранати» в ручному варіанті з російської настанови по трофейних австрійських і німецьких гранатах 1917 року (pirotek.info)
- Конструкція «універсальної гранати» в шомпольному варіанті, прицільне пристосування-квадрант і метод його кріплення до 8-мм гвинтівки системи Манліхера зразка 1895 року (Mantoan N. Bombe a mano austriache 1914-1918. — Udine: Paolo Gaspari editore, 2001. — P. 76.)
Головна частина мала отвори, в які при метанні потрапляв потік повітря, він розкручував турбінку, насаджену на масивний маховик. У польоті вони звільняли ударник, який приводився в бойове положення. Після падіння гранати ударник натикався на перешкоду та наколював капсуль, що підпалював перший пороховий заряд, а той, своєю чергою, другий, що знаходився відразу за першим.
- «Універсальна граната». Запобіжний ковпачок не знято з головної частини, видно тертковий запал зверху і парашутик знизу (Ortner C. Storm Troops: Austro-Hungarian Assault Units and Commandos in the First World War. Tactics, Organisation, Uniformes and Equipment. — Vienna: Verlag Militaria, 2005. — P. 155.)
- «Універсальна граната». Запобіжний ковпачок знято з головної частини, видно тертковий запал (Ortner C. Storm Troops: Austro-Hungarian Assault Units and Commandos in the First World War. Tactics, Organisation, Uniformes and Equipment. — Vienna: Verlag Militaria, 2005. — P. 155.)
Наявність двох послідовних зарядів була зумовлена універсальністю гранати: якщо її використовували як ручну, то з головної частини не знімали запобіжний ковпачок, який закривав отвори для потоку повітря. Тоді гранату зводили за допомогою терткового запалу (вбудованого в другий пороховий заряд) через бічний отвір у бойовому корпусі — сповільнювач забезпечував 8-секундну затримку в підриві. За другою пороховою камерою знаходився детонатор і заряд з 21 г мелініту (пікринової кислоти), який забезпечував розліт осколків на вражаючий радіус в 10 м. Загальна вага гранати становила 450 г у ручному варіанті та 600 г — у гвинтівочному.
Така суттєва різниця у вазі (150 г) пояснюється тим, що в ручному варіанті використання гранати були передбачені вищезгаданий ковпачок на головній частині і парашутик, прикріплений до дна гранати. Парашутик був покликаний забезпечити гранаті суворо вертикальне падіння і, відповідно, ідеальний розліт осколків.
Щоб перетворити гранату на гвинтівочну, потрібно було зняти ковпачок, вигвинтити парашутик і замість нього угвинтити шомпол. Дальність метання цього типу гранати з гвинтівки досягала 600 кроків (450 м)! Точність метання забезпечував приціл, що встановлювався на гвинтівку, у вигляді найпростішого квадранта з виском. За інструкцією, що додавалася до нього, можна було не тільки обчислити дальність пострілу залежно від кута нахилу гвинтівки, а й правильно встановити цей приціл на місце кріплення для багнета.
- «Універсальна граната» в зборі, шомпольний варіант (td-collectioner.ru)
- Деталі «універсальної гранати». Зверху зліва лежить запобіжний ковпачок, який перешкоджав зведенню гранати від набігаючого повітря (weaponland.ru)
- Деталі «універсальної гранати» (td-collectioner.ru)
- Деталі «універсальної гранати» (вид зверху) (td-collectioner.ru)
«Universalgranate» постачали до війська в дерев’яних ящиках по 42 штуки. До кожного ящика додавалося 30 шомполів, 30 холостих набоїв зразка 1893 року в трьох паперових упаковках, два гвинтівочних приціли-квадранти та дві інструкції до останніх.
Zeitzündergewehrhandgranate M.1915
Другим типом прийнятої на озброєння гвинтівочної гранати стала універсальна «Zeitzündergewehrhandgranate» (дослівний переклад — «гвинтівочно-ручна граната з тимчасовим запалом») зразка 1915 року. Вона була набагато примітивнішою, мала значно меншу дальність метання з гвинтівки, та й влучність теж залишала бажати кращого. Водночас «Zeitzündergewehrhandgranate» була набагато простішою у виготовленні, що дозволяло налагодити її виробництво в прифронтовій зоні.
- Конструкція «гвинтівочно-ручної гранати з тимчасовим запалом» з російської настанови по трофейних австрійських і німецьких гранатах 1917 року (ww1.milua.org)
- Різні ракурси «гвинтівочно-ручної гранати з тимчасовим запалом» з нагвинченими балістичними ковпачками та денцями для накручування шомпола (фото з колекції автора)
- Різні ракурси «гвинтівочно-ручної гранати з тимчасовим запалом» з відгвинченими балістичними ковпачками (фото з колекції автора)
Через свій зовнішній вигляд ця граната отримала влучне прізвисько «кукурудза». У поперечному розтині чавунний литий корпус нагадує літеру «Ж» — при вибуху така граната давала масу осколків. Конструкція корпусу об’єднувала ціле сімейство ручних гранат, що різнилися практично виключно чавунними пробками, які вгвинчувалися по різьбі в торці: одні з них призначалися для кріплення дротяних або дерев’яних руків’їв, інші — для вгвинчування гвинтівочного шомпола, треті були просто балістичними. Загальним правилом для всіх видів корпусів було те, що донна пробка мала мати спеціальний отвір, куди випускався шнур із тертковим запалом.
- Упаковка шомпольних «гвинтівочно-ручних гранат з тимчасовим запалом» (Mantoan N. Bombe a mano austriache 1914–1918. — Udine: Paolo Gaspari editore, 2001. — P. 81.)
- Різні типи ручних і гвинтівочних гранат (Mantoan N. Bombe a mano austriache 1914–1918. — Udine: Paolo Gaspari editore, 2001. — P. 74.)
Запальний пристрій обгортали вологостійким парафінованим папером, перед метанням гранати його потрібно було зірвати. Подальші дії дещо різнилися через застосування різних запальних пристосувань, але все зводилося до того, щоб за допомогою терки підпалити ґніт, що йшов всередину корпусу гранати до детонатора, спорядженого 2 г гримучої ртуті. Сповільнювач забезпечував час горіння ґнота близько 8 секунд. Граната споряджалася 90 г амоналу, який попередньо замотували в пергаментний папір у вигляді циліндра. Відомі випадки, коли застосовували небезпечніший мелініт або менш ефективний порох.
- «Гвинтівочно-ручні гранати з тимчасовим запалом», зібрані в шомпольному варіанті (Ortner C. Storm Troops: Austro-Hungarian Assault Units and Commandos in the First World War. Tactics, Organisation, Uniformes and Equipment. — Vienna: Verlag Militaria, 2005. — P. 157.)
- Холостий набій до 8-мм гвинтівки системи Манліхера зразка 1895 року для відстрілу «гвинтівочно-ручної гранати з тимчасовим запалом». Патрони входили в комплект упаковки гранат (Ortner C. Storm Troops: Austro-Hungarian Assault Units and Commandos in the First World War. Tactics, Organisation, Uniformes and Equipment. — Vienna: Verlag Militaria, 2005. — P. 158.)
- Приціл-квадрант до «гвинтівочно-ручної гранати з тимчасовим запалом» (Ortner C. Storm Troops: Austro-Hungarian Assault Units and Commandos in the First World War. Tactics, Organisation, Uniformes and Equipment. — Vienna: Verlag Militaria, 2005. — P. 156.)
- «Гвинтівочно-ручна граната з тимчасовим запалом» у стволі гвинтівки. Зліва — приціл-квадрант, справа — запобіжний чохол із парафінованого паперу з тертковим запалом всередині (Ortner C. Storm Troops: Austro-Hungarian Assault Units and Commandos in the First World War. Tactics, Organisation, Uniformes and Equipment. — Vienna: Verlag Militaria, 2005. — P. 156.)
Гвинтівочні гранати постачалися окремо від ручних, в ящику з 30 гранатами знаходилися шомполи та холості набої зразка 1893 року. Загальновживана в цьому типі гранат система попереднього підпалювання ґнота не зовсім підходила для гвинтівочної гранати — гранату мав «зводити» стрілець або хтось крім нього. Все це загрожувало тим, що граната могла полетіти до супротивника майже нешкідливим шматком металу, вибухнути у власному окопі або над головами товаришів. Вихід був знайдений дуже простий: до терки кріпили свинцеву кульку, яка завдяки своїй вазі під час метання витягувала тертку, що підпалювала ґніт. Щоб кулька випадково не зірвалася і не підпалила ґніт під час транспортування, її прив’язували мотузкою до верхньої частини терки.

Схема будови «гвинтівочно-ручної гранати з тимчасовим запалом» на номенклатурі упаковки гранат (Ortner C. Storm Troops: Austro-Hungarian Assault Units and Commandos in the First World War. Tactics, Organisation, Uniformes and Equipment. — Vienna: Verlag Militaria, 2005. — P. 156.)
Загальна вага гранати досягала 1,5 кг. Дальність метання з гвинтівки становила 150 кроків (близько 110 м). При вибуху корпус розлітався приблизно на 150 осколків з вражаючим радіусом 10 м і максимальним до 80 м.
Zeitzündergewehrgranate M.1916
Наступним етапом розвитку гвинтівочних гранат стала «Zeitzündergewehrgranate» зразка 1916 року, з її назви вже зникло слово «ручна». Конструкція нового типу не сильно відрізнялася від попередньої. Модифікація полягала в наступному:
- відмовилися від фігурного корпусу з готовими уражальними елементами — досвід застосування ручних гранат показав, що при вибуху не обов’язково «рветься там, де тонко». Крім іншого, це знизило загальну вагу боєприпасу до 1,3 кг;
- на головній частині корпусу стали монтувати порожній балістичний ковпачок;
- у донній частині корпусу проробили косий отвір для ґнота;
- до терки відразу кріпили свинцевий тягарець, що забезпечував автоматичне підпалювання ґнота під час пострілу;
- на донну частину корпусу нагвинчували ковпачок із внутрішнім нарізанням для кріплення шомпола.

Креслення «гвинтівочної гранати з тимчасовим запалом зразка 1916 року» (Mantoan N. Bombe a mano austriache 1914–1918. — Udine: Paolo Gaspari editore, 2001. — P. 86.)
Через конструкцію запалу цей тип гранати мав той самий недолік, що й попередній: якщо ґніт не встигав згоріти за час польоту, то граната встромлялася в землю, і більшість осколків залишалася на місці вибуху. Цю ваду намагалися компенсувати збільшенням кількості вибухової речовини, довівши її до 75 г амоналу. Однак і це не допомогло: радіус максимального розльоту осколків становив усього 50 м. Дальність польоту також знизилася до 150 кроків (близько 115 м). Натомість простота конструкції дозволила виготовляти ці гранати мало не з труб, що приблизно підходили за діаметром. Гранати упаковували в дерев’яні ящики по 30 штук разом із 30 шомполами та 30 холостими набоями.
Освітлювально-сигнальна Zeitzundergewehrgranate
На озброєнні австро-угорської піхоти була ще одна спеціальна гвинтівочна граната — освітлювально-сигнальна «Zeitzundergewehrgranate». Її конструкція була простою, а дистанційний запал ідентичний «Zeitzundergewehrhandgranate», але з часом горіння не вісім, а три секунди. Циліндричний корпус виконувався з алюмінію та був заповнений 60 г горючої суміші одного з двох видів: для освітлення (горіла білим кольором) або для подачі сигналів (червоним або зеленим). Час горіння становив близько 20 секунд. Запал підпалював ініціюючу суміш, яку відокремлювала від світлової повстяна пробка з отворами. Загальна маса гранати становить 600 г. Освітлювально-сигнальні гранати пакували в дерев’яні ящики по 60 штук разом із шомполами та холостими патронами зразка 1893 року. Скорострільність становила 12 гранат на хвилину.
- Креслення «освітлювально-сигнальної гранати з тимчасовим запалом» (Mantoan N. Bombe a mano austriache 1914-1918. — Udine: Paolo Gaspari editore, 2001. — P. 92.)
- «Освітлювально-сигнальна граната з тимчасовим запалом» у розрізі та її деталі (Ortner C. Storm Troops: Austro-Hungarian Assault Units and Commandos in the First World War. Tactics, Organisation, Uniformes and Equipment. — Vienna: Verlag Militaria, 2005. — P. 159.)
Lakos

Креслення «універсальної гвинтівочно-ручної гранати типу “Lakos”» (Mantoan N. Bombe a mano austriache 1914-1918. — Udine: Paolo Gaspari editore, 2001. — P. 84.)
Універсальним гвинтівочно-ручним був і боєприпас типу «Lakos» — можливо, найпростіший тип ручної гранати, яку виготовляли з тонкостінної чавунної труби. На стінці корпусу прорізали деяку кількість широких поперечних канавок (пізніше почали робити й поздовжні), які були покликані забезпечити більшу кількість осколків. Судячи з різної кількості канавок і діаметра циліндра збережених зразків, ці гранати виготовляли де завгодно та без особливого дотримання норм. Чавунний циліндр наповнювали амоналом (теж без суворого зважування, приблизно 90 г) і з обох кінців затикали дерев’яними пробками. За таких умов про конкретні вагу та розмір мова йти не могла: маса гранати коливалася в межах 800–900 г, діаметр становив близько 5 см, довжина — 14–15 см.
У верхній пробці робили отвір для запалу ударної дії. Він складався з ударника (звичайний загострений цвях, вставлений в отвір у пробці), який через тонку мембрану прилягав до капсуля. Капсуль підпалював ґніт, який вигорав протягом 6–8 секунд і підривав детонатор. Зверху запал був прикритий конічним балістичним ковпачком. При ручному метанні потрібно було зняти ковпачок, вдарити цвяхом об щось тверде та кинути гранату, поки горить ґніт. Щоб метнути гранату пострілом із гвинтівки, належало надіти на неї другий корпус, у який був угвинчений шомпол. Оскільки граната зводилася тільки при попаданні у щось тверде, противник цілком міг сховатися, поки горів ґніт.
Конструкція корпусу призвела до того, що він розривався на кілька великих фрагментів, що мали високу вражаючу дальність радіусом близько 35 м. Враховуючи, що людина могла кинути таку гранату лише на 30 м, зрозуміло, що використовувати її як ручну можна було тільки із закритих позицій. Дальність польоту гранати з гвинтівки досягала 150 м.
- Загальний вигляд гранати типу «Lakos» (delcampe.net)
- Головна частина корпусу гранати типу «Lakos» (вибуховий заряд видалено) і запал з ударником (delcampe.net)
- Тильна частина корпусу гранати типу «Lakos» і запал з ударником (delcampe.net)
- Різновиди корпусів гранати типу «Lakos». Ліва — з балістичним ковпачком (delcampe.net)
- Різновиди корпусів гранати типу «Lakos» (delcampe.net)
- Різновиди корпусів гранати типу «Lakos» (delcampe.net)
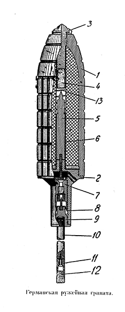
Gewehrgranate M.13
Незважаючи на те, що такі гранати, як «Lakos», виготовлялися майже кустарно, їх все одно не вистачало. Тому австро-угорське верховне командування було змушене закуповувати гранати у головного союзника — Німеччини. Серед німецьких гвинтівочних гранат можна виділити три типи: зразка 1913, 1914 і 1916 років.
«Gewehrgranate M.13» мала складну конструкцію: уздовж, через весь корпус, проходив циліндр, в який з нижнього боку гранати вгвинчували трубку з підривником і детонатором. Зверху циліндр був прикритий балістичною пробкою. Корпус — литий чавунний циліндричний діаметром 4,2 см і довжиною 10 см, з насічкою для утворення при вибуху готових осколків. Вся граната в зборі (без шомпола) мала 12,5 см завдовжки та важила 900 г. Корпус заповнювали 70 г тринітротолуолу (тротилу). У внутрішній трубці в головній частині був розміщений детонатор, а нижче нього — ударник із запобіжною пружиною. Нижче ударника — вогнепровідна трубка з пороховим запобіжником, ще нижче один за одним розміщувалися порохова петарда, капсуль й ударник, пов’язані з шомполом, який на вільному кінці мав власний амортизатор. Вся ця складна схема була необхідна для того, щоб під час пострілу спочатку звести гранату, а потім при зіткненні з перешкодою підірвати її.
- Креслення німецької «гвинтівочної гранати зразка 1914 року» (Mantoan N. Bombe a mano austriache 1914–1918. — Udine: Paolo Gaspari editore, 2001. — P. 88.)
- Конструкція німецької «гвинтівочної гранати зразка 1913 року» з російської настанови по трофейних австрійських і німецьких гранатах 1917 року (ww1.milua.org)
- Малюнок корпусу німецької «гвинтівочної гранати зразка 1913 року» (ww1.milua.org)
Боєприпас спрацьовував так: при пострілі холостим набоєм порохові гази одночасно виштовхували його з гранатою з каналу ствола та впливали на шомпол, змушуючи його зрушити донний ударник, щоб той продавлював лапчастий запобіжник і наколював капсуль. Останній підпалював пороховий заряд, і ударник підривника звільнявся. При зіткненні гранати з перешкодою бойовий ударник долав опір пружини та наколював капсуль, який підривав детонатор, а той, своєю чергою, вибухову речовину в гранаті. Дальність польоту гранати досягала 150 м, уражаючий радіус розльоту осколків — 45 м. Конструкція була надійна та безпечна, але вельми дорога та складна.
Gewehrgranate M.14
Принцип дії цієї гвинтівочної гранати виявився менш складним, ніж у попередньої. Від зведення гранати через вплив порохових газів холостого набоя на шомпол відмовилися, і тепер все довірялося інерції внутрішніх механізмів підривника. Безпеку при транспортуванні забезпечувало те, що жало ударника оберталося вздовж горизонтальної осі і в звичайному положенні знаходилося перпендикулярно капсулю — ніяке струшування не могло призвести до того, щоб воно стало вертикально та накололо капсуль. Ще більшу безпеку підривнику гарантувала невелика кулька, що западала в спеціальне поглиблення на циліндрі, що осідав під час пострілу.
- Конструкція німецької «гвинтівочної гранати зразка 1914 року» з російської настанови по трофейних австрійських і німецьких гранатах 1917 року (ww1.milua.org)
- Конструкція німецької «гвинтівочної гранати зразка 1914 року» з російської настанови по трофейних австрійських і німецьких гранатах 1917 року (ww1.milua.org)
- Малюнок корпусу німецької «гвинтівочної гранати зразка 1914 року» (ww1.milua.org)
- Деталі німецької «гвинтівочної гранати зразка 1914 року» (ww1.milua.org)
При пострілі гранатою під дією власної інерції циліндр, що осідав, долав опір лапчастої пружини, кулька випадала зі свого гнізда, а жало ударника ставало у вертикальне бойове положення. При ударі о перешкоду жало наколювало капсуль, який підривав детонатор.
Корпус гранати був чавунним литим циліндричної форми діаметром 4,2 см і довжиною 9,8 см. Товщина стінок — близько 5 мм, сферичного дна — 12 мм. Корпус мав неглибокі поперечні та перпендикулярні жолобки для утворення готових осколків. У верхню частину корпусу вгвинчували детонатор із балістичним ковпачком, у нижню — сталевий шомпол, покритий тонким шаром міді. На його вільному кінці гвинтом кріпилася ведуча шайба довжиною близько 2 см із міді та з конічним поглибленням на кінці. У це поглиблення був вставлений врівень із шайбою мідне осердя.
При пострілі осердя входило в поглиблення, розпираючи шайбу, через що та врізалася в канали ствола та надавала гранаті обертального руху, що стабілізувало її в польоті. У місці кріплення корпусу гранати та шомпола розташовувалося металеве блюдце, покликане діяти як парашут: воно сповільнювало політ, і граната падала практично вертикально. З наведеного опису зрозуміло, що й ця конструкція не могла похвалитися простотою і дешевизною виготовлення.
- Німецька «гвинтівочна граната зразка 1914 року» (ww1.milua.org)
- Корпус німецької «гвинтівочної гранати зразка 1914 року» (ww1.milua.org)
Gewehrgranate M.16
Більш-менш просту конструкцію мала «Gewehrgranate M.16», хоча і її важко порівнювати з багатьма австро-угорськими зразками. Тепер чавунний корпус гранати став гладким зовні, а глибокі насічки були перенесені всередину (німці все ще сподівалися отримати велику кількість готових осколків).

Відстріл німецької гвинтівочної гранати «Gewehrgranate» зразка 1916 року під час навчань у 10-му армійському корпусі (bildarchivaustria.at)
Корпус був наповнений 75 г амоналу, в ньому розміщували пороховий заряд і детонатор. У головну частину корпусу вгвинчували підривник, у якому були послідовно встановлені пробка, ударник на запобіжній пружині та капсуль. Щоб ударник не зрушився під час транспортування, його утримувала запобіжна стрічка, що виходила назовні і була обмотана із зовнішнього боку навколо корпусу підривника. Перед пострілом цю стрічку слід було зняти. Після пострілу і до зіткнення з перешкодою ударник долав опір пружини та наколював капсуль, який підпалював пороховий заряд, а той, своєю чергою, ініціював детонатор. У донну частину корпусу гранати вгвинчували шомпол. Його конструкція також була максимально спрощена: стабілізацію в польоті за рахунок обертання довірили спідниці, зігнутій з жерсті. Загальна вага гранати досягала 1305 г, дальність пострілу — 150 м, уражаючий радіус розльоту осколків — 35 м.

Креслення німецької «гвинтівочної гранати зразка 1916 року» (Mantoan N. Bombe a mano austriache 1914–1918. — Udine: Paolo Gaspari editore, 2001. — P. 82.)
Очевидно, що питання ураження супротивника гранатами в Австро-Угорщині було вирішено двояко. Інженери двоєдиної монархії пішли шляхом поєднання універсальної конструкції, що дозволяла використовувати цю зброю і як ручну, і як гвинтівочну, з найпростішими тертковими запалами. Німецькі ж зброярі обрали створення складного механічного запалу для вузькоспеціалізованої конструкції. Обидва ці підходи знайшли своє місце в габсбурзьких збройних силах.
Література:
- Прибилов Б., Кравченко Е. Ручные и ружейные гранаты. — М.: Арктика 4Д, 2008. — 776 с.
- Gordon L. Rottman. The Hand Grenade. — Weapon 38, Osprey publishing, 2015 — 82 p.
- Jaskółowski P. Działa okopowe c. i k. Armii 1914–1918. — Przemyśl: Wydawnictwo Fort, 2008. — 202 p.
- Mantoan N. Bombe a mano austriache 1914–1918. — Udine: Paolo Gaspari editore, 2001. — 113 p.
- Ortner C. Storm Troops: Austro-Hungarian Assault Units and Commandos in the First World War. Tactics, Organisation, Uniformes and Equipment. — Vienna: Verlag Militaria, 2005. — 314 p.
- ww1.milua.org
Ця стаття була оприлюднена 29 серпня 2018 року російською мовою на сайті «Warspot» білоруського проєкту «World of tanks»




































